Weatherproof the Antenna Connections

About this task

The following guidelines apply to outdoor deployments.

Extreme Networks recommends that all RP-SMA connections between the AP and antennas are weatherproofed using the following weatherproof kits (not supplied):
  • Wireless Weatherproofing Kits:
    • 3M (WK‐100)
    • Scotch (WK‐101)
    • Each weatherproofing kit includes ¾-inch vinyl tape, 2-inch mastic tape, and 2-inch wide vinyl tape.
Follow the guidelines to ensure proper installation:
  • The weatherproofing tape must be wound tightly over the connectors.
  • Ensure that no areas around the edges are exposed.
Note

Note

Installation instructions are provided with each weatherproofing kit.
Click to expand in new window
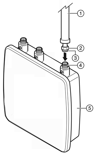
Weatherproofing the Antenna
1Antenna4Type-N jack
2Nut5AP
3Standard polarity Type-N plug6Sealing tape (recommended, but not supplied)

Procedure

  1. Secure the antenna in place by tightening the single nut.
  2. Follow the manufacturer's instructions provided in the kit to seal the connection between the Type-N jack and the Type-N plug.